研究领域

超大规模数字集成电路及SoC系统设计

发布日期:2019-06-18 作者: 点击:

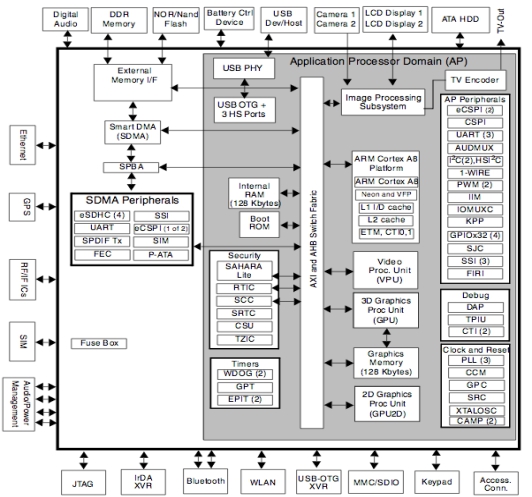
     周莉副教授引领的团队在数字集成电路与SoC系统方面进行了深入研究,并取得了多项成果。如高性能SoC/MPSoC架构研究包括ASIC/IP设计、集成、验证方法、验证平台研究 ,以及深亚微米芯片后端设计技术研究。

                                           

HEVC/H.264处理器及其关键技术研究

 

高性能SoC/MPSoC架构

图形处理器GPU设计技术研究


 

关闭